Forum der Vereinigung der Sternfreunde

Forum of the German Amateur Astronomy Association
Aktuelle Zeit: 24. November 2025, 17:43:27 PM

Alle Zeiten sind UTC+02:00




Ein neues Thema erstellen  Auf das Thema antworten  [ 72 Beiträge ]  Gehe zu Seite 1 2 Nächste
Autor Nachricht
BeitragVerfasst: 06. Mai 2016, 22:13:49 PM 
Offline
Nutzer
Benutzeravatar

Registriert: 06. Mai 2016, 20:38:32 PM
Beiträge: 40
Wohnort: Utrecht, The Netherlands
Hello to all,

My name is Paul Gerlach and I'm from the Netherlands.
I've been using a DADOS spectrograph for a couple of years now and wanted to try something new; building a low resolution spectrograph.

Almost the entire instrument is made with a 3D printer except of course for the optical components.
Because I wanted a compact design that could be printed with my 3D printer I've chosen this optical layout. In hindsight probably not the most efficient design.

It sort of works but I can't seem to get a good focus unless I attach a photo lens and restrict the amount of light going into the instrument. I suspect that this is due to internal reflections.
Also, choosing a short focal camera lens make focusing a real pain.
I'm a total beginner when it comes to designing and building a spectrograph. I also have a limited knowledge of optics.

I hope that some of you can help me out a bit. Can this design be salvaged or should I scrap it and start over?

Regards,
Paul Gerlach
Dateianhang:
opzet-LOWSPEC.jpg
opzet-LOWSPEC.jpg [ 188.8 KiB | 33231 mal betrachtet ]


Dateianhänge:
sharpening.jpg
sharpening.jpg [ 181.24 KiB | 33231 mal betrachtet ]
firstlight-opstelling.jpg
firstlight-opstelling.jpg [ 127.47 KiB | 33231 mal betrachtet ]
spectroscoop-met-optiek.jpg
spectroscoop-met-optiek.jpg [ 129.08 KiB | 33231 mal betrachtet ]
Nach oben
   
BeitragVerfasst: 06. Mai 2016, 23:32:18 PM 
Offline
Meister
Benutzeravatar

Registriert: 01. August 2006, 16:08:56 PM
Beiträge: 3866
Wohnort: 68163 Mannheim
Hello Paul,

welcome in this forum !

First, my knowledge says, that is the first amateur spectrograph made completely by 3D-printer ! :D :!:

The spectra show sharp lines at the left side and more diffuse lines at the right. Perhaps is the camera not exactly adjusted relative of the optical axes (the sensor have to be perpendicular due the optical axes)? Or the combination of mirror and grating produces a beam running not exactly along the optical axes. Then you have to adjust the mirror a little bit. The collimated beam from grating through the camera lens onto the sensor should symmetrical along the optical axes.

Excuse my bad english.

_________________
Herzliche Grüße / best regards

Lothar

https://lotharschanne.wordpress.com/


Nach oben
   
BeitragVerfasst: 07. Mai 2016, 11:59:15 AM 
Offline
Nutzer
Benutzeravatar

Registriert: 06. Mai 2016, 20:38:32 PM
Beiträge: 40
Wohnort: Utrecht, The Netherlands
Hello Lothar,

As far as I know, I'm not the first. To my knowledge that honour goes to a gentleman (Scott) from Arizona who posted a 3d printed design on Cloudy Nights.

Thank you for your suggestion. However, I don't think that's the issue here. It would not explain why I get sharper lines over the whole spectral range when I constrict the amount of light going into the instrument. If it would be a misalignment of the camera / camera lens on the optical axis I would expect that line on one side of the spectrum would still be out of focus. Instead the lines get increasingly sharper if less and less light if led into the spectrograph (see attached examples).

That's why I think this problem has more to do with stray light or internal reflections of the optical components. Or am I barking up the wrong tree here?

Please feel free to respond in German. I can read it and understand it pretty well but writing and speaking is a whole other thing :wink: .

Best regards,
Paul
Dateianhang:
sharper_spectrum.gif
sharper_spectrum.gif [ 180.88 KiB | 33207 mal betrachtet ]


Nach oben
   
BeitragVerfasst: 07. Mai 2016, 14:11:07 PM 
Offline
Meister
Benutzeravatar

Registriert: 19. August 2006, 11:45:20 AM
Beiträge: 2740
Wohnort: 66907 Glan-Münchweiler
Hi, auch glaube nicht, dass das was mit Streulicht zu tun hat, zumal das Gerät innen ganz schwarz ist.
Tolle Sache sowas mit einem 3D Drucker zu machen!

Kompliment!

Möglicherweise haben die Linsen einen zu großen Farblängsfehler.? Sind das Achromaten?

herzlicher Gruss
Berthold


Nach oben
   
BeitragVerfasst: 07. Mai 2016, 23:15:51 PM 
Offline
Nutzer
Benutzeravatar

Registriert: 06. Mai 2016, 20:38:32 PM
Beiträge: 40
Wohnort: Utrecht, The Netherlands
Hi Berthold,

Thanks for the compliment.
I wouldn’t have tried this if I hadn't had this printer. It enables me to create a prototype relatively quickly.

All the lenses are achromatic doublet with MgF2 coatings.

I just can't get my head around this problem….
Could it be due to the spectrum being reflected back by the rather convex camera lens?
Also the collimator is right in the firing line of the second order and the zero order is just missing the camera lens.

Cheers,
Paul


Nach oben
   
BeitragVerfasst: 08. Mai 2016, 08:56:07 AM 
Offline
Meister
Benutzeravatar

Registriert: 19. August 2006, 11:45:20 AM
Beiträge: 2740
Wohnort: 66907 Glan-Münchweiler
Hi,

Welchen Spektralbereich bildet der Apparat ab? Einfache Achromaten schaffen es nicht von 4000 - 7000 Angström gleichzeitig scharf abzubilden!

Aber gut, dann mach mit Deinem 3D Drucker eine Vorrichtung, mit der du die CCD kontrolliert und feinfühlig kippen kannst in Dispersionsrichtung. Gerd Neumann bietet so was als Tip-tilt an. Ich hatte das sogar bei meinem Lhires III, obwohl der nur einen kleinen Spektralbereich abbilden konnte......

herzlicher Gruss
Brrthold


Nach oben
   
BeitragVerfasst: 08. Mai 2016, 15:41:14 PM 
Offline
Nutzer
Benutzeravatar

Registriert: 06. Mai 2016, 20:38:32 PM
Beiträge: 40
Wohnort: Utrecht, The Netherlands
Hello Berthold,

Here the numbers in SIMSPEC.
Maybe that this range is pushing it a bit...

Cheers,
Paul
Dateianhang:
SIMSPEC.gif
SIMSPEC.gif [ 143.66 KiB | 33153 mal betrachtet ]


Nach oben
   
BeitragVerfasst: 08. Mai 2016, 19:39:56 PM 
Offline
Meister
Benutzeravatar

Registriert: 01. August 2006, 16:08:56 PM
Beiträge: 3866
Wohnort: 68163 Mannheim
Zitat:
Hello Lothar,
However, I don't think that's the issue here. It would not explain why I get sharper lines over the whole spectral range when I constrict the amount of light going into the instrument. If it would be a misalignment of the camera / camera lens on the optical axis I would expect that line on one side of the spectrum would still be out of focus. Instead the lines get increasingly sharper if less and less light if led into the spectrograph (see attached examples).
Hallo Paul,

es sind mindestens 2 sich überlagernde Effekte zu sehen, die mir schon erklärbar scheinen:
1. Das Abblenden von 2.8 auf bis 11 ergibt natürlich eine Verbesserung der Bildschärfe, wegen des Öffnungsfehlers der Kameralinse. Das Arbeiten mit großen Blenden (niedriges Öffnungsverhältnis) führt immer zu unschärferen Abbildungen.
2. Trotz des fortschreitenden Abblendens bleiben aber auf der rechten Seite des Spektrums die Linien bei allen Blendenstufen unschärfer wie links. Das kann bedingt sein durch Fehler im alignment oder aber durch den Farbfehler der Kameralinse, wenn du die Scharfeinstellung auf die linken Spektrallinien eingestellt hast. Versuch doch mal auf die mittleren Linien scharf zu stellen und mach dann die Abblendreihe noch mal.

_________________
Herzliche Grüße / best regards

Lothar

https://lotharschanne.wordpress.com/


Nach oben
   
BeitragVerfasst: 08. Mai 2016, 19:58:33 PM 
Offline
Meister
Benutzeravatar

Registriert: 11. November 2007, 18:11:30 PM
Beiträge: 1379
Hallo Paul,
welches Material hast Du für den 3D-Drucker benutzt?
Viele Grüße
Christian


Nach oben
   
BeitragVerfasst: 08. Mai 2016, 22:04:12 PM 
Offline
Nutzer
Benutzeravatar

Registriert: 06. Mai 2016, 20:38:32 PM
Beiträge: 40
Wohnort: Utrecht, The Netherlands
(==>) Lothar:
The alignment of the optical component has been done with the help of 3D software. I made 3D models of all these components and then designed the whole thing around it. So the tolerance should be within 0.1mm.
I will certainly try your suggestion to focus more around the 5500 A area and see what that brings. I will show the results soon.
If you look at my post no. 4 you will see that there is also a big improvement at the H-alpha line so even the near infrared benefits.

@Christian:
The material I use is PLA. It's a plastic that has a more crystalline structure (stiffer) than an other commonly used material in 3D printing; ABS.
It's my intention to share this design with the spectroscopic community so that it can be improved and all can benefit from it.

Cheers,
Paul


Nach oben
   
BeitragVerfasst: 09. Mai 2016, 10:28:34 AM 
Offline
Meister
Benutzeravatar

Registriert: 11. Dezember 2009, 21:26:32 PM
Beiträge: 1267
Wohnort: 14478 Potsdam
Hi Paul,

welcome!

The increase of sharpness comes definitely from spherical aberration. F/2.2 is not a good idea, to be honest.
I see three possibilities:
1. Reduce the total angle at the grating
2. Reduce collimator focal length
3. Increase focal length of camera lens

Best regards,
Daniel

_________________
Daniel P. Sablowski

https://www.kunstmann.de/buch/axel_hack ... 42000/t-2/
https://dpsablowski.wordpress.com
https://github.com/DPSablowski
https://www.aip.de/mitglieder/dsablowski/


Nach oben
   
BeitragVerfasst: 09. Mai 2016, 11:06:05 AM 
Offline
Meister
Benutzeravatar

Registriert: 01. August 2006, 16:08:56 PM
Beiträge: 3866
Wohnort: 68163 Mannheim
Hallo Paul,

Daniel hat recht. Mit diesem "schnellen" Öffnungsverhältnis der Kameralinse hast du keine Chancen, eine scharfe Abbildung zu bekommen. Das schafft kein Achromat, das schaffen nur hochkorrigierte photographische Objektive. Wobei die allerdings auch nur in einem optischen Bereich von ca. 450 bis 650 nm farblich ausreichend korrigiert sind.
Der einfachste Weg für eine Verbesserung deines Spektrographen könnte eine deutliche Verlängerung der Brennweite deiner Camera sein auf mindestens 60 mm, besser 70 oder 80 mm. Dann wird auch ein Achromat noch eine gute Abbildungsleistung zeigen. Deine abgeblendeten Spektren in deinem ersten Beitrag zeigen das ja bereits. Du brauchst neben dem Ersatz des Achromaten eigentlich nur eine Verlängerungshülse einbauen, damit die CCD den richtigen Abstand von der Camera hat. Kannst es dir ja mal mit simspec durchrechnen.

_________________
Herzliche Grüße / best regards

Lothar

https://lotharschanne.wordpress.com/


Nach oben
   
BeitragVerfasst: 09. Mai 2016, 12:14:47 PM 
Offline
Meister
Benutzeravatar

Registriert: 19. August 2006, 11:45:20 AM
Beiträge: 2740
Wohnort: 66907 Glan-Münchweiler
Hallo Paul,

genau das , was Lothar und Daniel da sagen hatte ich ja auch schon erwähnt; bei Echellespektrographen ist dieser Spagat sogar immer irgendwie zu meistern, denn diese Dinger brauchen als Objektiv immer eine kleine Öffnungszahl bei sehr guter Korrektur der Öffnungsfehler.

Bei so einem Spektrographen braucht keine (!) Öffnungszahl kleiner zu sein als die Öffnungszahl des verwendeten Teleskopes.

hG
Berthold


Nach oben
   
BeitragVerfasst: 11. Mai 2016, 16:51:42 PM 
Offline
Nutzer
Benutzeravatar

Registriert: 06. Mai 2016, 20:38:32 PM
Beiträge: 40
Wohnort: Utrecht, The Netherlands
After looking at the design again. It appears that the mirror that deflects the beam from the collimator onto the grating is of by 0.5 degrees. The slope should have been 22.5 degrees but for some reason it's only 22 degrees. So the beam is of by 1 degree and therefore not hitting the grating dead centre.
Any ideas as to what the consequences could be for the refracted beam and therefore the produced spectrum?
Regards,
Paul


Nach oben
   
BeitragVerfasst: 11. Mai 2016, 20:18:55 PM 
Offline
Meister
Benutzeravatar

Registriert: 19. August 2006, 11:45:20 AM
Beiträge: 2740
Wohnort: 66907 Glan-Münchweiler
Hallo Paul,

also wenn ich das richtig sehe, dann hat der Strahl einen Durchmesser von 20mm, das Gitter ist 25 mm gross, solange da nichts am gitter vorbei geht, wäre das noch ok. Es ist eh besser,wenn die optischen Elemente mit entsprechenden Vorrichtungen feinverstellt werden können. So lassen sich die optischen Elemente besser ausrichten. Mit der bislang fehlenden Abbildungsschärfe hat das aber nichts zu tun.....

herzlicher Gruss
Berthold


Nach oben
   
BeitragVerfasst: 11. Mai 2016, 21:53:56 PM 
Offline
Nutzer
Benutzeravatar

Registriert: 06. Mai 2016, 20:38:32 PM
Beiträge: 40
Wohnort: Utrecht, The Netherlands
OK, so what it boils down to is that this 40mm achromat simply is isn't up to the job. Replacing it with an 50mm photolens like Ken Harrison suggested is out of the question. That would raise the price tag considerably. My aim is to design an affordable spectrograph that can produce the whole visible spectrum onto the chip of an Atik314L. And it has to be printed on a 3D printer that has a building platform of 180x200mm. So that means back to the drawing board.

Using an 100mm achromat as collimator, 300l/mm grating and an 80mm achromat as camera lens would probably be a better choice. That would considerably reduce the spherical aberration as you all sugested.

Best regards,
Paul


Nach oben
   
BeitragVerfasst: 13. Mai 2016, 20:53:51 PM 
Offline
Nutzer
Benutzeravatar

Registriert: 06. Mai 2016, 20:38:32 PM
Beiträge: 40
Wohnort: Utrecht, The Netherlands
I've come up with an altered design. Optimised for an f/8 telescope.
Due to the longer focal length of the collimator and in order to keep the spectrograph compact I've placed the collimator after the mirror. Also I'm planning to use an 80mm achromat as a camera lens.
Thereby hoping to reduce the spherical aberration that my first design was plagued by.

What do you think?

Best regards,
Paul

Dateianhang:
LOWSPEC-2-setup.jpg
LOWSPEC-2-setup.jpg [ 57.94 KiB | 32963 mal betrachtet ]
Dateianhang:
Simspec-lowspec-2.gif
Simspec-lowspec-2.gif [ 96.12 KiB | 32963 mal betrachtet ]


Nach oben
   
BeitragVerfasst: 13. Mai 2016, 21:44:03 PM 
Offline
Meister
Benutzeravatar

Registriert: 18. Dezember 2008, 17:49:06 PM
Beiträge: 244
Wohnort: St Leonards, Vic, Australia
Paul,
That looks promising. Ideally a 30mm Sq. grating.....
You only need a single doublet for the guide optics - cheaper and can give acceptable guide images.
Ken

_________________
" Astronomical Spectroscopy for Amateurs" - Springer


Nach oben
   
BeitragVerfasst: 13. Mai 2016, 21:48:52 PM 
Offline
Meister

Registriert: 13. August 2009, 17:04:50 PM
Beiträge: 265
Wohnort: Maienfeld, Schweiz
Hallo Paul,

it looks better now. Is it a coincidence that it looks very similar to the LISA by Shelyak? http://www.shelyak.com/rubrique.php?id_rubrique=12
Dateianhang:
LISA crosssection2.jpg
LISA crosssection2.jpg [ 71.12 KiB | 32956 mal betrachtet ]
The main difference is that the LISA has a faster f-ratio, but also a better corrected camera lens. Yours is probably lighter and should work well (without calculating the optics in detail).

Regards, Martin


Nach oben
   
BeitragVerfasst: 13. Mai 2016, 22:05:53 PM 
Offline
Nutzer
Benutzeravatar

Registriert: 06. Mai 2016, 20:38:32 PM
Beiträge: 40
Wohnort: Utrecht, The Netherlands
Ken, 30x30mm just to be on the safe side? SimSpec shows that the minimum width is approx. 18mm.

Martin, it indeed looks like the LISA design but I got there via 'evolutionary' design :wink:
I simply wanted to keep the 45 degree arrangement of the first design but had to shift the collimator so that the dimensions of the housing can still be printed on my 3D printer.

Regards, Paul


Nach oben
   
BeitragVerfasst: 15. Mai 2016, 16:24:55 PM 
Offline
Meister
Benutzeravatar

Registriert: 18. Dezember 2008, 17:49:06 PM
Beiträge: 244
Wohnort: St Leonards, Vic, Australia
Paul,
There seems to be an error in your spreadsheet....
The height of the grating should show (Cell G25) 15.6mm This would then mean a 25 mm Sq. grating would be good.
(I've emailed a correct V4.2 to you)

_________________
" Astronomical Spectroscopy for Amateurs" - Springer


Nach oben
   
BeitragVerfasst: 15. Mai 2016, 17:40:40 PM 
Offline
Meister
Benutzeravatar

Registriert: 11. April 2007, 10:47:33 AM
Beiträge: 384
Wohnort: Umina Beach
Paul,

if you provide me with the lens details (e.g. vendor & stock number) I can set up a better model. Once we found the correct parameters I can export the model as a STEP or IGES file which hopefully can be read by your software. I used lenses from Thorlabs and Edmund which had the corresponding focal lengths. I put all together in a rush but could certainly spend some time improving the image quality (e.g. tilting the CCD can improve the spot quality a lot).

What wavelength range are you after? What are the desired angles and distances between the optics?

Btw. the minimum size of the grating is 15.8 mm.

Cheers
Tobias


Dateianhänge:
screenshot_1.jpg
screenshot_1.jpg [ 190.16 KiB | 32800 mal betrachtet ]

_________________
Dein Projekt. Mach es fertig, bevor es Dich fertig macht!
Nach oben
   
BeitragVerfasst: 15. Mai 2016, 17:54:17 PM 
Offline
Meister
Benutzeravatar

Registriert: 18. Dezember 2008, 17:49:06 PM
Beiträge: 244
Wohnort: St Leonards, Vic, Australia
Tobias,
Based on the f8 input and a 125mm collimator I get 15.6mm for the exit beam to the grating, this then gives a design width of 17.6mm at the alpha angle of 27.62 degrees....
Where did we go wrong??
Ken

_________________
" Astronomical Spectroscopy for Amateurs" - Springer


Nach oben
   
BeitragVerfasst: 15. Mai 2016, 18:04:59 PM 
Offline
Meister
Benutzeravatar

Registriert: 11. April 2007, 10:47:33 AM
Beiträge: 384
Wohnort: Umina Beach
Hi Ken,

I got 15.6 mm for the collimated beam. Not sure what I screwed up with the angles, but I will have a look. Bit late here in Australia ;)

Cheers
Tobias

_________________
Dein Projekt. Mach es fertig, bevor es Dich fertig macht!


Nach oben
   
BeitragVerfasst: 15. Mai 2016, 21:32:12 PM 
Offline
Nutzer
Benutzeravatar

Registriert: 06. Mai 2016, 20:38:32 PM
Beiträge: 40
Wohnort: Utrecht, The Netherlands
Tobias,
I appreciate that you are taking the time to make this analysis. Looks like an impressive piece of software. A focal shift of 0.2mm looks like a lot to me. But than again I don't have much knowledge of optics.

The wavelength range I'm after is the optical spectrum 4000 – 7000 Å. Preferably a bit more; 3500 Å coverage (see my SimSpec screen). I'm not sure if that's pushing it with a simple achromatic lens?
But maybe I should just take some focal shift into account. After all, I'm not after the perfect design but rather a cost effective solution. I'm striving to design a spectrograph that is somewhere between the ALPY and LISA but at a fraction of the cost.

Here are the optical components:

Mirror: AX27404from Anchor Optics.
Collimator: AX27276from Anchor Optics (a division of Edmund Optics).
Grating: GR25-0305 form Thorlabs.
Camera lens: AC300-080-A from Thorlabs.

If there are better alternatives please let me know.

To design the parts for the 3D printer I use 123D Design from Autodesk. It can read STEP files.

@Ken: Thanks for the new SimSpec version. I noticed the strange value and ignored it when making the 3d drawing figuring the height should be the same as the diameter of the collimator beam.


Cheers,
Paul


Nach oben
   
BeitragVerfasst: 16. Mai 2016, 08:58:23 AM 
Offline
Meister
Benutzeravatar

Registriert: 11. April 2007, 10:47:33 AM
Beiträge: 384
Wohnort: Umina Beach
Hi Paul,

thanks for the specs. Can we actually play a little bit with the collimator/camera focal lengths? I will try out some solutions over the week.

Cheers

_________________
Dein Projekt. Mach es fertig, bevor es Dich fertig macht!


Nach oben
   
BeitragVerfasst: 16. Mai 2016, 09:32:21 AM 
Offline
Meister
Benutzeravatar

Registriert: 19. August 2006, 11:45:20 AM
Beiträge: 2740
Wohnort: 66907 Glan-Münchweiler
Hallo Tobias,

klasse, dass Du Dich diesem Projekt mit annehmen willst. Ich bin an dessen Entwicklung sehr interessiert und finde es einfach genial, dass man sowas drucken kann. Die am verbreiteten Teleskope haben ja 10 als Öffnungszahl; von daher braucht auch der Spektrograph eher nirgends kleinere Öffnungszahlen, was die optischen Abbildungen sehr günstig beeinflussen sollte. Und da Du ja Zemax gut beherrschen kannst, könntest Du bitte ja das Ding mal mit unterschiedlichen Öffnungsverhältnissen durchrechnen, das dürfte mehr hergeben als simspec allein!

Bei Euch wird es schon bald dunkel! :D

Herzliche Grüsse
Berthold


Nach oben
   
BeitragVerfasst: 16. Mai 2016, 11:10:56 AM 
Offline
Nutzer
Benutzeravatar

Registriert: 06. Mai 2016, 20:38:32 PM
Beiträge: 40
Wohnort: Utrecht, The Netherlands
This is turning into a collaborative project! Nice!
As far as I'm concerned, please play with collimator/camera specs. The only thing I can do is tinker with SimSpec. What Tobias can do with Zemax is fare better! You can actually see if this thing is going to work or not.

It would be fantastic if this could result in some sort of open source spectrograph! I've noticed that a growing number of amateurs in The Netherlands and Belgium are interested in spectroscopy but are put off by the pricetag of a commercial spectrograph. Myself included. Of course they are all fantastic instruments and worth every dollar or Euro. But it's still a big investment!

Cheers
Paul


Nach oben
   
BeitragVerfasst: 16. Mai 2016, 11:43:08 AM 
Offline
Meister
Benutzeravatar

Registriert: 11. Dezember 2009, 21:26:32 PM
Beiträge: 1267
Wohnort: 14478 Potsdam
Hi Paul,

I just want to mention that there is a free version of WinLens3D, which is capable of designing classical (and echelle for some extend) spectrographs. You can find it here:
http://www.winlens.de/index.php?id=23

cheers,
Daniel

_________________
Daniel P. Sablowski

https://www.kunstmann.de/buch/axel_hack ... 42000/t-2/
https://dpsablowski.wordpress.com
https://github.com/DPSablowski
https://www.aip.de/mitglieder/dsablowski/


Nach oben
   
BeitragVerfasst: 16. Mai 2016, 11:59:32 AM 
Offline
Meister

Registriert: 31. Juli 2006, 16:43:32 PM
Beiträge: 3468
Hi Paul, the spectro community grows, indeed. In principle, a scientifically useable high-resolution spectrograph can be designed for clearly less than 1000 Euros. But it needs some tinkering skills and the willing to learn some basic opto-mechanics, as you see for your fantastique approach (yes, I am also impressed about you 3D printer idea). But after circumnavigating these hurdles one can do astronomy (and real science) from urban environments. Our most spectacular fellow is Dong Li from Tianjin (12 Mio. people) and a 5 arcsec seeing (gosh!). There are always single pioneers who bring the spectroscopy on the radar screen in different countries. This was the case for Germany, France, Danmark, England, Switzerland, Australia and Brazil. You could fill this role in Holland. So, go ahead! Our forum will deliver respective support.
Cherio, Thomas


Nach oben
   
BeitragVerfasst: 16. Mai 2016, 17:06:47 PM 
Offline
Meister
Benutzeravatar

Registriert: 11. April 2007, 10:47:33 AM
Beiträge: 384
Wohnort: Umina Beach
Hi Paul,

still bit confused about the angles but here is the latest version with 2 achromats from Edmund (45217 and 45213). The spots are quite small when focused somewhere around 610nm. The wavelength range is now extended from 450 to 700nm with footprint of 7 mm on the Atik chip. There is no CCD tilt assumed here.

left = 450nm , middle = 550nm , right = 700nm

Cheers
Tobias


Dateianhänge:
screenshot_2.jpg
screenshot_2.jpg [ 206.89 KiB | 32663 mal betrachtet ]

_________________
Dein Projekt. Mach es fertig, bevor es Dich fertig macht!
Nach oben
   
BeitragVerfasst: 16. Mai 2016, 18:18:44 PM 
Offline
Meister
Benutzeravatar

Registriert: 19. August 2006, 11:45:20 AM
Beiträge: 2740
Wohnort: 66907 Glan-Münchweiler
Hallo Tobias,

hast Du jetzt für Kolli und Objektiv die gleichen Linsen verwandt, 25/125?

Warum nimmst Du 1:5 und nicht 1:10 für das Öffnungsverhältnis?

herzlicher Gruss
Berthold


Nach oben
   
BeitragVerfasst: 16. Mai 2016, 18:25:31 PM 
Offline
Nutzer
Benutzeravatar

Registriert: 06. Mai 2016, 20:38:32 PM
Beiträge: 40
Wohnort: Utrecht, The Netherlands
Hi Tobias,

Is this drawing helpful?
Also, what's the focal ratio of the incoming beam?
If the incoming beam would be f/6 and the colli a 25mm fl=125mm and camera a 30mm fl=80mm would that be possible?
I get the impression that it is not possible to image the whole spectrum without some amount of defocus in one part of the spectrum.
Dateianhang:
Simspec-lowspec-2-angles.gif
Simspec-lowspec-2-angles.gif [ 83.73 KiB | 32645 mal betrachtet ]
Paul


Nach oben
   
BeitragVerfasst: 16. Mai 2016, 19:09:21 PM 
Offline
Meister
Benutzeravatar

Registriert: 11. Dezember 2009, 21:26:32 PM
Beiträge: 1267
Wohnort: 14478 Potsdam
Dear Opticians,

you should try to minimize the 45° angle at the grating. If you want to keep the bean-crossing configuration, try to place the collimator before the dispersed beam such that your are not limited in beam length between folding mirror and grating.
Furthermore, the distance between grating and lenses should equal the focal length of the lenses to keep telecentricity.

best regards,
Daniel

_________________
Daniel P. Sablowski

https://www.kunstmann.de/buch/axel_hack ... 42000/t-2/
https://dpsablowski.wordpress.com
https://github.com/DPSablowski
https://www.aip.de/mitglieder/dsablowski/


Nach oben
   
BeitragVerfasst: 16. Mai 2016, 20:21:07 PM 
Offline
Nutzer
Benutzeravatar

Registriert: 06. Mai 2016, 20:38:32 PM
Beiträge: 40
Wohnort: Utrecht, The Netherlands
Hi Daniel,

Do you mean returning back to my original design?
Problem with that design is that the collimator is 'in the line of fire' of the second order.
Also this would make the whole thing rather large and then the crossing beam configuration would make no sense any more.

Why should the camera lens be at and 80mm distance? I was always under the impression that this lens should be as close as possible to the grating? If this is an important aspect, why do I see other designs that do not honour this rule (e.g. DADOS)?

Best regards,
Paul


Nach oben
   
BeitragVerfasst: 16. Mai 2016, 20:57:33 PM 
Offline
Meister
Benutzeravatar

Registriert: 11. Dezember 2009, 21:26:32 PM
Beiträge: 1267
Wohnort: 14478 Potsdam
Hi Paul,

well it is a question of symmetry. The grating should take the role of the aperture which gives symmetry to the system if placed in the correct distance to the lenses. This will suppress off-axis aberrations, in particular coma.

I've attached some figures with spot diagrams for a simple set-up of two lenses. You can see that the off-axis spots for the telecentric set-up are symmetric and suffer less from coma. It is not of major influence for imaging systems with small objects (slit) but could become important for larger field sizes (spectrum image).

cheers,
Daniel


Dateianhänge:
telecentric_spot.png
telecentric_spot.png [ 34.21 KiB | 32617 mal betrachtet ]
telecentric_layout.png
telecentric_layout.png [ 21.94 KiB | 32617 mal betrachtet ]
nontelecentric_spot.png
nontelecentric_spot.png [ 40.21 KiB | 32617 mal betrachtet ]

_________________
Daniel P. Sablowski

https://www.kunstmann.de/buch/axel_hack ... 42000/t-2/
https://dpsablowski.wordpress.com
https://github.com/DPSablowski
https://www.aip.de/mitglieder/dsablowski/
Nach oben
   
BeitragVerfasst: 17. Mai 2016, 01:54:34 AM 
Offline
Meister
Benutzeravatar

Registriert: 11. April 2007, 10:47:33 AM
Beiträge: 384
Wohnort: Umina Beach
Zitat:
Hi Daniel,

Do you mean returning back to my original design?
Problem with that design is that the collimator is 'in the line of fire' of the second order.
Also this would make the whole thing rather large and then the crossing beam configuration would make no sense any more.

Why should the camera lens be at and 80mm distance? I was always under the impression that this lens should be as close as possible to the grating? If this is an important aspect, why do I see other designs that do not honour this rule (e.g. DADOS)?

Best regards,
Paul
Hi guys,

Daniel is right, telecentric is most favorable but often not achievable due to design constraints.

To clarify the design above uses a 125/30 mm collimator and a 85/25 mm camera lens. The camera lens is currently at a distance of 60mm and the input focal ratio is f/8.

Cheers
Tobias

_________________
Dein Projekt. Mach es fertig, bevor es Dich fertig macht!


Nach oben
   
BeitragVerfasst: 17. Mai 2016, 09:45:43 AM 
Offline
Meister
Benutzeravatar

Registriert: 18. Dezember 2008, 17:49:06 PM
Beiträge: 244
Wohnort: St Leonards, Vic, Australia
White light pupil comes to mind.
Daniel, can you run the same program but with a lesser spacing between the lenses - to show the differences in the spot diagrams......
(I've never seen a Littrow design which meets this requirement?)

_________________
" Astronomical Spectroscopy for Amateurs" - Springer


Nach oben
   
BeitragVerfasst: 17. Mai 2016, 10:57:35 AM 
Offline
Nutzer
Benutzeravatar

Registriert: 06. Mai 2016, 20:38:32 PM
Beiträge: 40
Wohnort: Utrecht, The Netherlands
Why was a collimator chosen with a diameter of 30mm and a camera lens of 25mm? I would expect it to be the other way around.
Would it be possible to create a set-up that could be used with a f/6 telescope or would that just create even more problems? I'm asking this because there are many interested amateurs that own relative fast telescopes for astrophotography.

Ken, I'v just bought a Pentax 50mm lens (as you suggested) which I plan to use with my initial design to see if that can produce any useful spectra and how the plastic housing will behave when it is actually in use.

Cheers,
Paul


Nach oben
   
BeitragVerfasst: 17. Mai 2016, 11:04:53 AM 
Offline
Meister
Benutzeravatar

Registriert: 19. August 2006, 11:45:20 AM
Beiträge: 2740
Wohnort: 66907 Glan-Münchweiler
Hi Paul,

Je kleiner Du die Öffnungszahl machst, desto schwerer wird es insbesondere mit einfachen Achromaten einen großes Wellenlängenintervall gleichzeitig scharf abzubilden!

Cheers
Berthold


Nach oben
   
BeitragVerfasst: 17. Mai 2016, 16:04:11 PM 
Offline
Meister
Benutzeravatar

Registriert: 11. April 2007, 10:47:33 AM
Beiträge: 384
Wohnort: Umina Beach
Zitat:
Why was a collimator chosen with a diameter of 30mm and a camera lens of 25mm? I would expect it to be the other way around.
Would it be possible to create a set-up that could be used with a f/6 telescope or would that just create even more problems? I'm asking this because there are many interested amateurs that own relative fast telescopes for astrophotography.
Simple, I tested all Achromats with 80-85mm and 125mm in the database of Zemax from Thorlabs and Edmund. The Edmund combination gave the best result. You are right that 30mm would be better fit for the camera. Unfortunately, the database is 10 years old and may not include all lenses available in the catalogs. Your latest design was setup for an f/8 telescope, ideally you would like to have something like f/10. If you persue f/6, compact design, telecentric layout and a wavelength range of 300 nm (++) we have to think about something else than just a simple achromatic camera objective ...

Cheers
Tobias

_________________
Dein Projekt. Mach es fertig, bevor es Dich fertig macht!


Nach oben
   
BeitragVerfasst: 19. Mai 2016, 22:51:56 PM 
Offline
Nutzer
Benutzeravatar

Registriert: 06. Mai 2016, 20:38:32 PM
Beiträge: 40
Wohnort: Utrecht, The Netherlands
OK, I've been tinkering with a Pentax 50mm lens as a camera lens with my first design.
The resulting spectra without any optics in front of the slit are somewhat better but the overall problem remain. It's impossible to get a good focus across the whole spectral range (in this case about 3000 Å). Again, sharp spectra when setting the input beam at f/11 or higher.

The set-up now has become heavy and ugly (from a design point) with this Pentax-adapter-camera arrangement hanging on one side. Also the camera lens was never designed to be used in this way. There is sideways play in the focusing mechanism.

I've placed some pictures with a laser beam. The slit has been removed. There's obviously a problem with reflections of the collimator. There is even a second spot on the mirror.

I think it's time to scrap this design in favour of the second. What do you think?
I don't like using camera lenses like the 50mm Pentax. They make the whole design cumbersome and ugly.

Cheers
Paul
Dateianhang:
setup.jpg
setup.jpg [ 67.48 KiB | 32481 mal betrachtet ]
Dateianhang:
laser01.jpg
laser01.jpg [ 159.03 KiB | 32481 mal betrachtet ]
Dateianhang:
laser02.jpg
laser02.jpg [ 148.77 KiB | 32481 mal betrachtet ]
Dateianhang:
laser03.jpg
laser03.jpg [ 152.47 KiB | 32481 mal betrachtet ]
Dateianhang:
laser04.jpg
laser04.jpg [ 158.17 KiB | 32481 mal betrachtet ]


Nach oben
   
BeitragVerfasst: 19. Mai 2016, 22:53:37 PM 
Offline
Nutzer
Benutzeravatar

Registriert: 06. Mai 2016, 20:38:32 PM
Beiträge: 40
Wohnort: Utrecht, The Netherlands
And here some pictures of the spectra.
Dateianhang:
zonder-lens-uv.jpg
zonder-lens-uv.jpg [ 38.43 KiB | 32479 mal betrachtet ]
Dateianhang:
zonder-lens-rood.jpg
zonder-lens-rood.jpg [ 44.14 KiB | 32479 mal betrachtet ]
Dateianhang:
zonder-lens-best-focus.jpg
zonder-lens-best-focus.jpg [ 38.1 KiB | 32479 mal betrachtet ]


Nach oben
   
BeitragVerfasst: 24. Mai 2016, 22:21:01 PM 
Offline
Nutzer
Benutzeravatar

Registriert: 06. Mai 2016, 20:38:32 PM
Beiträge: 40
Wohnort: Utrecht, The Netherlands
Dear spectroscopists,

I'm wondering if the use of a 40mm Super Plössl eyepiece as a camera lens would make any difference. What are your thoughts on this?

Cheers
Paul


Nach oben
   
BeitragVerfasst: 25. Mai 2016, 08:02:37 AM 
Offline
Meister
Benutzeravatar

Registriert: 11. April 2007, 10:47:33 AM
Beiträge: 384
Wohnort: Umina Beach
I assume this might be possible if used in the right way (lens closest to the eye has to face the grating). However, ...
- do you know the back focal length of the Ploessl? Can you still accommodate a CCD camera
(You can measure this with collimated e.g. Sun light)?
- what is the clear aperture of the lens closest to the eye?
- the eyepiece might be not optimized for large beam diameters (e.g. >15mm)
- the exit pupil is relatively close to the eyepiece ...

Cheers

_________________
Dein Projekt. Mach es fertig, bevor es Dich fertig macht!


Nach oben
   
BeitragVerfasst: 25. Mai 2016, 09:21:03 AM 
Offline
Nutzer
Benutzeravatar

Registriert: 06. Mai 2016, 20:38:32 PM
Beiträge: 40
Wohnort: Utrecht, The Netherlands
Thanks Tobias.

It's not that I have one lying around. I was just wondering and reading your comments I realize that this is not a straight forward 'solution'. There are a lot of unknown parameters.

Cheers


Nach oben
   
BeitragVerfasst: 28. September 2016, 23:01:19 PM 
Offline
Nutzer
Benutzeravatar

Registriert: 06. Mai 2016, 20:38:32 PM
Beiträge: 40
Wohnort: Utrecht, The Netherlands
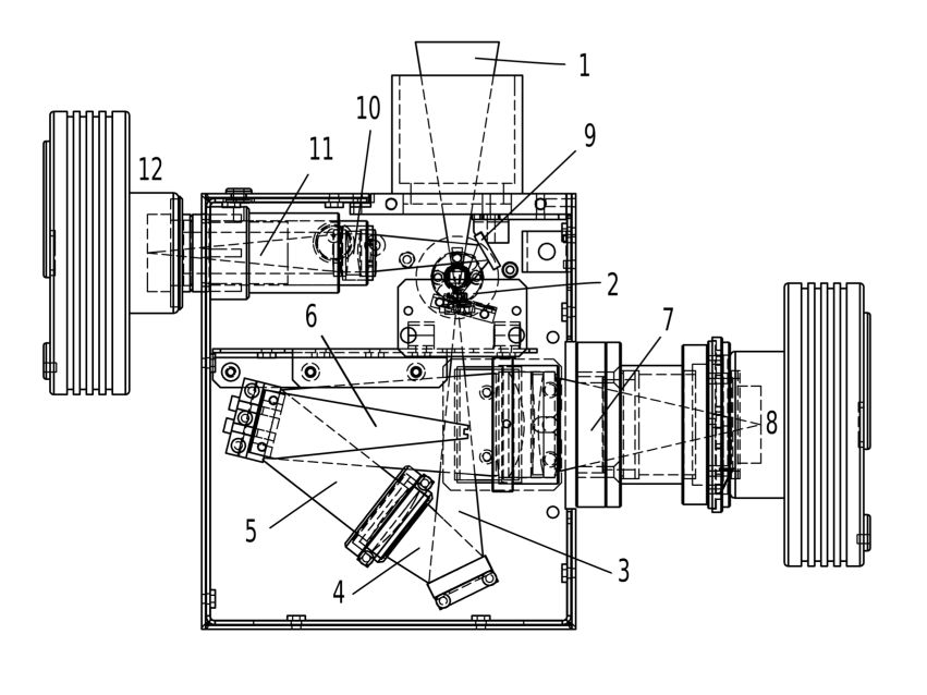
It’s been a while since my last post here, but I’ve finally had some time to realise this new design.
At first I had the same difficulties with focusing the spectrum across the whole wavelength range as with my first design. But even then the image was much better.
In order to increase the focus Tobias suggested to tilt the camera. This is not easy to realise so I came up with the idea to tilt the camera lens slightly instead. The result is a much flatter focal plane.

I’ve yet to make some real stellar spectra, but I hope this will be possible in the days to come.
I do have my concerns about guiding. The slit image shows a rather rough surface and I’m afraid that this will cause light to scatter.

As with my first attempt this instrument is also 3d printed.

Cheers,
Paul


Dateianhänge:
setup.jpg
setup.jpg [ 140.58 KiB | 31343 mal betrachtet ]
inside.jpg
inside.jpg [ 190.57 KiB | 31343 mal betrachtet ]
design.jpg
design.jpg [ 113.43 KiB | 31343 mal betrachtet ]
LOWSPEC2-daylight-spectrum.jpg
LOWSPEC2-daylight-spectrum.jpg [ 117.04 KiB | 31343 mal betrachtet ]
LOWSPEC2-daylight.jpg
LOWSPEC2-daylight.jpg [ 42.84 KiB | 31343 mal betrachtet ]
Nach oben
   
BeitragVerfasst: 28. September 2016, 23:05:17 PM 
Offline
Nutzer
Benutzeravatar

Registriert: 06. Mai 2016, 20:38:32 PM
Beiträge: 40
Wohnort: Utrecht, The Netherlands
Here the SimSpec data sheet and the slit image seen by the autoguide camera.


Dateianhänge:
Simpec-data.gif
Simpec-data.gif [ 185.77 KiB | 31343 mal betrachtet ]
slit_image.jpg
slit_image.jpg [ 85.72 KiB | 31343 mal betrachtet ]
Nach oben
   
BeitragVerfasst: 29. September 2016, 18:21:34 PM 
Offline
Meister
Benutzeravatar

Registriert: 11. Dezember 2009, 21:26:32 PM
Beiträge: 1267
Wohnort: 14478 Potsdam
Hi Paul,

great work !!

Hm... I've looked through the posts but did not find information about the slit you are using.

There are some suppliers of high quality slits on glass:

http://pyser-sgi.com/graticules/apertur ... s-on-glass

https://lenoxlaser.com/shop/optical-ape ... ical-slit/

http://www.shelyak.com/

I've also used stainless steel slits (e.g. from Edmund, Thorlabs etc...) and polished them a little. It's far from perfect, but works reasonable.

kind wishes,
Daniel

_________________
Daniel P. Sablowski

https://www.kunstmann.de/buch/axel_hack ... 42000/t-2/
https://dpsablowski.wordpress.com
https://github.com/DPSablowski
https://www.aip.de/mitglieder/dsablowski/


Nach oben
   
BeitragVerfasst: 29. September 2016, 18:48:04 PM 
Offline
Nutzer
Benutzeravatar

Registriert: 06. Mai 2016, 20:38:32 PM
Beiträge: 40
Wohnort: Utrecht, The Netherlands
Hi Daniel,

It's a stainless steel slit (25 micron) from LenoxLaser.
The first one they send had a defect (extra hole next to the slit :( ) but was much more refective than the second one they send.
So there seems to be a big variation in surface quality. so I will not go down that path anymore.

I'm looking into the possibility of a chrome-on-glass slit (thanks for the links) but they are way more expensive than the air slit form LenoxLaser.

Cheers,
Paul


Nach oben
   
Beiträge der letzten Zeit anzeigen:  Sortiere nach  
Ein neues Thema erstellen  Auf das Thema antworten  [ 72 Beiträge ]  Gehe zu Seite 1 2 Nächste

Alle Zeiten sind UTC+02:00


Wer ist online?

Mitglieder in diesem Forum: 0 Mitglieder und 0 Gäste


Du darfst keine neuen Themen in diesem Forum erstellen.
Du darfst keine Antworten zu Themen in diesem Forum erstellen.
Du darfst deine Beiträge in diesem Forum nicht ändern.
Du darfst deine Beiträge in diesem Forum nicht löschen.
Du darfst keine Dateianhänge in diesem Forum erstellen.

Suche nach:
Gehe zu:  
Powered by phpBB® Forum Software © phpBB Limited
Deutsche Übersetzung durch phpBB.de